原标题:漏夜”闪辞”!多名大学教授连夜辞任独董,发生了什么?康美案余威显现,10万年薪”背上”亿级债务?
董的工作越来越难了。
中国券商记者翻阅近期上市公告发现,近期独立董事辞职公告突然增多,且多数辞职独立董事任期尚未届满。今年恰好是中国独立董事制度诞生20周年。
值得一提的是,最近两天,不少大学教授辞去了上市公司独立董事的职务。比如11月17日辞职的辽宁成大独立董事谢德仁,现任清华大学经济管理学院会计系教授。今年8月刚成为辽宁成大独立董事,前几天匆匆辞职。现任中央财经大学会计学院副院长、教授的华电能源独立董事孙健政客也于11月18日宣布辞去独立董事职务,其2020年从公司获得的税前薪酬总额为6.32万元。开山独立董事、浙江财经大学会计学教授石希敏今年5月成为开山独立董事,18日辞职。
杜东是成批辞职的,还是受到了康美案的极大影响。近日,康美案一审判决出炉。康美医药作为上市公司,承担负债24.59亿元。此外,5名独立董事被判巨额连带责任,赔偿金额将高达1.23亿元或2.46亿元,远超康美任职期间的工资收入。引起市场关注的是,康美五位独立董事中有四位是大学教授。
独立董事掀起“辞职潮”
过去一周,仅仅是宣布董事/独立董事辞职,就毁了不少a股上市公司。
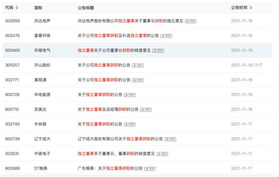
据券商中国记者粗略统计,11月8日以来的两周内,刚刚宣布董事、独立董事辞职的上市公司就有几十家。其中,约有30家公司宣布独立董事辞职,且大多在任期届满前仓促宣布辞职,导致不少公司董事会独立董事人数低于法定最低比例。


证券数据中心统计数据显示,2021年独立董事辞职人数创近年新高,超过700人。2018年至2020年,独立董事每年辞职人数分别为503人、497人和679人。按月计算,今年5月和6月出现独立董事辞职高峰,当月分别有136名和84名独立董事辞职。
一些从事上市公司合规与信息披露咨询的人士向券商中国记者表示,近期独立董事“辞职潮”可能受康美案影响。“毕竟独立董事的一般津贴实际上可能是10万元一年,但像康美这样的造假者作为独立董事是很难找到的。特别是康美是特别代表人诉讼,独立董事在其中承担更大的责任。对于独立董事来说,他们承担的风险有点高,这导致最近辞职的人数增加。”
康美案5名独董被追责,4名为大学教授
在广州市中级人民法院对康美医药作出的一审判决中,上市公司需承担民事赔偿24.59亿元,同时包括实际控制人马兴田在内的21名高管及审计机构均明确了相应的责任比例。其中,马兴田等6名实际控制人100%负责,广东钟政珠江会计师事务所有限公司及其合伙人、签字会计师杨文蔚100%负责,其他董事分别负责20%、10%、5%。
包括当时的五位独立董事。其中,蒋振平、丁力安、张虹因签署康美医药2016年年报、2017年年报、2018年半年报被判承担10%的连带赔偿责任,对应金额2.46亿元;郭、张平仅签署2018年半年报,被判负5%连带责任,c
李定安,华南理工大学工商管理学院教授,2007年1月至2015年,康美制药独立董事,2012年5月至2018年5月;2018年5月至2020年10月,任公司监事。2018年至2020年,康美医药的税前薪酬分别为14.84万元、14.84万元和16.80万元,合计46.48万元。
西南政法大学管理学院副教授张虹于2015年6月至2018年5月担任独立董事。2017年和2018年,康美医药的税前薪酬分别为7.39万元和3.7万元,合计11.09万元。
张平,华南理工大学工商管理学院副教授,2018年5月至2020年6月2日担任公司独立董事。2018年至2020年,康美医药的税前薪酬分别为7万元、12.01万元和5.09万元,三年合计约24.1万元。
郭
,现任大连理工大学管理科学与工程学院教授,2018年5月起任独立董事,2018年-2020年从康美药业获得的税前报酬分别为7万元、12.01万元、12万元,合计31.01万元。
多名大学教授连夜辞职!
券商中国记者还注意到,近期诸多大学教授辞去了其在上市公司兼任的独立董事职位。
比如11月17日辞职的辽宁成大独董谢德仁,现任清华大学经济管理学院会计系教授,今年8月份刚刚成为辽宁成大独立董事,就在日前匆匆辞职。华电能源的独立董事孙健,现任中央财经大学会计学院副院长、教授,也在11月18日宣布辞去独立董事,其2020年从公司获得的税前报酬总额为6.32万元。开山股份的独立董事史习民,为浙江财经大学会计学教授,于今年5月成为开山股份独立董事,也于18日辞职。
一直以来,高校盛产“独董”也成为“独董生态”中独特的风景。一位上市公司董事向券商中国记者表示:“教授们需要名利,上市公司需要专业背书,算是一个比较合理的双赢选择。”
北京市中伦律师事务所合伙人张启祥向券商中国记者表示,对高校老师担任上市公司的独立董事,教育部和监管部门有一些明确的规定,比如担任党政领导干部、处级以上职务的教师,就不能够担任独立董事,这从任职资格层面做了一些有效限制和排除。
他提到,高校老师担任独立董事,从合理性来说,确实有一些优势和便利性,比如行业专业背景、财会知识积累,很多高校老师都是各自领域的专家和学者,本身也能给企业赋能。而且,由于其高级知识分子的担当,社会往往寄予更多的独立性期待。当然也有一些弊端,比如很多高校教师,因为做理论研究更多,实务经验相对薄弱,如果对企业运营和规范运行理解不够,履职时就有局限。
康美案最终的落槌,或许也促使一些高校教授做出了辞去独董的决定。
具体来看,11月17日,辽宁成大发布了关于独立董事辞职的公告。公告称,公司董事会于2021年11月15日收到独立董事谢德仁先生的辞职申请。谢德仁先生因个人原因,申请辞去公司第十届董事会独立董事及审计委员会主任委员、提名委员会委员、薪酬与考核委员会委员职务。辞职后,谢德仁先生不在公司担任任何职务。谢德仁先生的辞职将导致公司董事会独立董事人数低于法定最低比例要求。
辽宁成大此前公告显示,谢德仁,男,1972年1月生,厦门大学管理学(会计学)博士。曾任中国证监会第17届发行审核委员会委员,中国财政部第一届企业会计准则咨询委员会成员,中华人寿保险股份有限公司独立董事,华夏基金管理有限公司独立董事,朗新科技股份有限公司独立董事。现任清华大学经济管理学院会计系教授,中国财政部第二届企业会计准则咨询委员会委员,清华控股有限公司及清华大学资产管理有限公司监事会主席,恒泰证券股份有限公司独立董事,北京经纬恒润科技股份有限公司独立董事,厦门银行股份有限公司独立董事,青岛创新奇智科技集团股份有限公司独立董事。
值得一提的是,在辽宁成大8月19日的公告中,选举谢德仁先生为公司第十届董事会董事、审计委员会主任委员、薪酬与考核委员会委员、提名委员会委员等议案刚刚被通过。也就是说,上任刚刚3个月,谢德仁就火速辞职。
又比如,华电能源于11月18日公告称,公司董事会近日收到独立董事孙健先生的书面辞呈,因个人原因,孙健先生申请辞去公司独立董事职务,同时不再担任董事会审计委员会主任委员和薪酬与考核委员会委员。
券商中国记者查阅华电能源2020年年报发现,孙健,1982年出生,博士,曾任中央财经大学会计学院讲师、副教授,现任中央财经大学会计学院副院长、教授。孙健任期起始日为2020年5月21日,任期终止日期为2023年5月20日。同时年报显示孙健2020年从公司获得的税前报酬总额为6.32万元。
11月18日,开山股份公告称,公司董事会于11月18日收到公司独立董事史习民先生递交的书面辞职报告,史习民先生因个人原因,申请辞去公司第五届董事会独立董事职务,同时一并辞去其在董事会下属专门委员会所担任的审计委员会召集人及薪酬与考核委员会委员职务。史习民先生辞去上述职务后不再担任公司任何职务。史习民先生的辞职将导致公司独立董事人数低于公司董事会成员人数的三分之一。
记者查阅过往公告发现,史习民先生, 1960年6月出生,中国国籍,无境外永久居留权,管理学博士,浙江财经大学会计学教授,现兼任浙江京新药业股份有限公司独立董事。据悉,史习民先生原定任期为 2021年5月7日至第五届董事会届满之日。
独董责任认定引关注
在康美案此次判决中,业内对于普通董监高以及兼职外部独立董事的责任认定问题的关注颇高。据悉,A股上市公司15000余名独董薪酬差异较大,平均年薪仅8万元左右。如果不慎遇到像康美这样的造假公司,动辄上亿的连带赔偿责任,与所获薪酬的差异实在是过于巨大。
担任万科、格力电器、中光学、柔宇科技四家公司独立董事的刘姝威则公开表示:“独立董事要对投资者负责任,我同意担任独立董事的公司都是我充分了解,多年跟踪相关公开资料的公司。担任独立董事后,对有关资料出现疑问,我必须询问上市公司相关部门,直至完全清楚为止。”
“对于康美药业如此明显的造假行为,并且舆论已经公开质疑,作为康美药业的独立董事不应该识别不出来。我国有关法律法规已经明确规定独立董事的权利和责任。对于康美药业肆无忌惮的造假行为,作为独立董事无动于衷!既然没有履行法律法规赋予的权利和责任,受到法律的制裁,冤枉吗?”刘姝威在其署名文章中说道。
“根据我们的经验,在相当长的一段时间里,我国法院很少真正判决上市公司普通董监高、外部独立董事承担证券虚假陈述连带赔偿责任。但近年来,包括我们自己代理的案件以及其他几起引发市场热议的案件中,均出现了判决普通董监高、外部独立董事承担连带责任的情况。我们在办案过程中切实体会到,对上市公司普通董监高尤其是外部董事虚假陈述责任的认定是一个极难把握、处理的问题,也是值得监管机构和司法机关妥善考虑的问题。”金杜律师事务所合伙人杨婷、夏东霞律师表示。
金杜杨婷律师和夏东霞律师认为,诚然,法律有对公众公司信息披露的要求,也对公众公司董监高履职的勤勉尽责义务、对公众公司的内在制衡机制设置了相应规定。但是,上市公司相当一部分董监高实际上就是普通的“打工人”,其对财务、法律方面的认识、理解、甚至敏感程度很难做到“全知全能”。且若论身份,相当一部分上市公司的普通董监高和独立董事都是一个“普通人”,他们或是职业经理人,或是企业的老员工,亦或是教师、技术人员、行业专家以类似“顾问”的身份担任独立董事。法院的判决或许看起来是10%、5%甚至更低的连带责任范围比例,但真正转化到赔偿金额上,那便是绝大多数普通家庭难以承受之重。
A股“独董”生态待变
我国“独董”制度诞生于2001年,至今已经走过20个年头。康美案最终的落槌,也让A股“独董生态”发生巨震。
《证券时报》此前报道中指出,5名独立董事被判巨额连带赔偿责任,亦属A股市场首次,颇具震撼性,有望成为独立董事制度完善的一个契机。
一位上市公司董事向券商中国记者表示:“从独董制度的弊端来说,由于实际控制人权力过大,独董一般也不愿意唱反调,不是原则性问题一般都略过、跟着投票。毕竟投反对票还需要陈述理由,更花时间也更麻烦。这次事件之后,这个情况应该会有所改善,大家会对独立董事这份责任有更明确的认知。”
自媒体“法经笔记”的作者Panda君撰文表示:“当前的独董制度面临着几对典型的矛盾:较低的综合收益和较高的职责之间的矛盾;较低的话语权和较高的社会期望之间的矛盾;较低的参与性与较高的专业素养要求之间的矛盾,而这一判决对整个独董制度而言又是一次巨大的震动,当然也再次提供了我们观察和思考的一个重要机会。”
Panda君表示,独董面临着以下现状:
第一,独董缺乏足够的履职激励。一年10万元左右的独董薪酬对于较高素质的专业机构专家而言已经缺乏足够的吸引力。
第二,独董的知情权保障不足。独董时常反映缺乏了解公司信息的渠道,也出现了多起独董因为知情权无法得到保障而辞职的案例。
第三,独董的履职时间和履职要求不甚明确,目前独董最多兼职数量是5家。由于缺乏具体的履职要求,独董尽责目前只能依靠自觉。
金杜杨婷律师和夏东霞律师表示,或许应当回头审视一下20年前我国引入上市公司独立董事制度的初衷,也有必要审视一下我国上市公司独立董事制度目前的运行现状。一言以蔽之,在目前情况下,我国法律对外部独立董事的功能、作用的认知投射到实践中,的确很难用一句“外部董事与内部董事负有相同的忠实、勤勉义务”来形成对其归责的判断。故对于上市公司普通董监高、尤其是外部董事的责任追究应当谨慎,不宜作泛化处理。在这一问题上的思考和制度建构,应该还有比较长的一段路要走。
北京市中伦律师事务所合伙人张启祥表示,单说制度建设层面,目前的规则对独立董事的权限与履职、责任和义务,其实是有比较明确的规定和清晰的安排,制度建设已经比较完善了。“我理解现实中出现的一些问题,更多还是在执行层面。一是很多上市公司并没有真从公司治理层面实际发挥独立董事的作用,更加需要他们开放地欢迎独立董事参与公司管理,接受监督、检查和问询等,并提供履职保障,充分发挥外部董事的作用。二是一些独立董事,本身或怠于行使权利,或抹不开面子,或不具备履职能力,使得制度虚设了。”
张启祥提到,如果未来要从制度上优化,可从四方面考虑:
一是对独立董事任职进行强化。比如除了现在的财务背景的董事要求外,可以考虑强制要求一名独立董事是熟悉上市公司所在行业的人士,比如有理论和实务研究背景。如果外部董事懂任职公司所在行业的情况,更容易提供帮助发现问题,这样或许可以弥补财会以及其他专业背景的独立董事的不足。
第二,要合理提高独立董事的薪酬。目前绝大部分的企业给独立董事的薪酬有限,和规则本身,与市场期待的履职要求不太匹配,需要适当提高他们的薪酬,一是增加激励,二也与未来的风险相匹配。
第三,可以考虑监事会和外部董事的联动。目前,可能在上市公司失灵的不仅是独立董事,还有监事会。要对上市公司、对内部董事、对实际控制人和控股股东形成监督和有效约束,可以考虑从这方面联动,形成合力。具体做法上还要进行更多思考和探讨,比如多少比例的独立董事由监事会来提名,对监事会的提名,董事会必须提交股东大会审议。
第四、要鼓励和推动独立董事发挥作用,也要为他们履职提供合理的保障。比如,强制性的董事责任险,以及在规则中对独立董事的免责事由等有关问题予以明确规定,并在监管部门的有关执法实践中统一尺度。
内容来源网络,如有侵权,联系删除,本文地址:https://www.230890.com/zhan/106491.html
