苹果已经用 "可穿戴设备"一词来涵盖Apple Watch和AirPods,但现在它可能希望扩展到更多的项目,从钥匙圈和门把手环,到手镯和项链。一项新披露的专利显示,它可能推出更多的可穿戴设备。
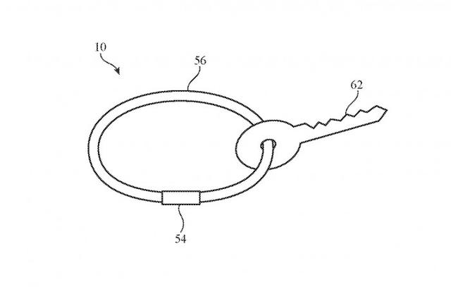
苹果这项专利名为"带有嵌入式电路的可穿戴环",这项专利关注的是如何让一个电子设备有一个织物外壳单元。苹果所有这些想法都与穿戴设备的能力有关,苹果希望让它小到可以成为类似钥匙圈的东西。

苹果在专利中表示,电子设备可以佩戴在用户的身上,也可以附着在一个物体上。电子设备可以有一个环、带或类似绳子的形状,可以系在人、动物或物体上,或以其他方式附在上面,可用于收集关于电子设备所连接的人或物体的信息,其中包括位置信息、活动信息、识别信息、医疗或生物识别信息等等。

此外,同一设备可用于向用户提供输出,包括触觉输出、音频输出和/或视觉输出。它还可以存储关于人或物的识别信息,或为用户存储信息。而且它可以作为增强现实或虚拟现实系统中的一个锚或视觉标记。
设备本身预计都会很小。苹果的专利更多地集中在如何连接该设备上,并在其他选项中提到它们如何包括磁力结构,如在适当的电磁场下卷起和展开的磁力链接。在近15000字的专利描述中,苹果不断发现新的可能用途,然后仍然回到标准的专利路线上,说它可以涵盖更多类型的设备。
内容来源网络,如有侵权,联系删除,本文地址:https://www.230890.com/zhan/102083.html
