我的头条号到现在应该运营快五年了,从自媒体做起也快五年了。
但是中间有一段间隔,就是停滞。今年才开始继续,重新运营。
我又加了一个,因为是2019年下半年开始的,断断续续。
然后就没有话题了,也不去想会不会有人看。
我什么都没想明白,什么都没考虑,因为那时候我在大学教书。
把心放在学生身上。
后来疫情的时候,人们说人是环境的产物,这是真的。
我直接换了另一种情况,很佛。上课的时候上课,不上课的时候拍个视频就完事了。
然后是2020年底。当时状态不太好,发生了很多事情。
之后是2021年整整一年,然后一直到现在2022年,感觉两年时间都被偷走了。
在上海被封后,我没有开始新的职业方向,又开始专心写文章,也就是4月份。
现在才一个多月吧?
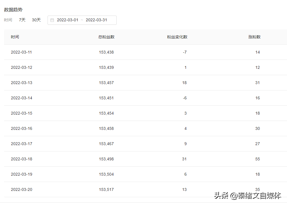
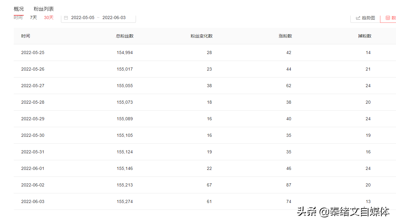
正式开始转向媒体,现在整体头条粉丝数据是这样的。

然后这张是三月份的,对比很明显。

二月也是。

那么我想用这些数据说明什么呢?
就是只要你重视,数据肯定会越来越好。
这是一个和另一个。
也是比较关键的。很多人说一个账号中间有几万个数据不好的粉丝,但是拿不到号。需要取消重新开始吗?
很多人给出建议取消。
其实平台算法根本不在账号里,而在你的内容里。
好内容,旧账也能焕发青春。
内容不好,就算是新账号也不一定起得来!
所以,内容为王,这句话永远不过时。如果你从自己身上找原因,向内寻求,你会发现问题解决的更快!
内容来源网络,如有侵权,联系删除,本文地址:https://www.230890.com/zhan/254959.html
