网易云音乐
据报道,文件显示,网易旗下Cloud Village(网易云音乐)香港IPO定价为每股205港元,拟通过IPO筹资4.22亿美元。(界面)
微博
36氪获悉,微博在港交所公告称,将通过香港IPO全球发售1100万股股份(包括550万股新股份及550万股销售股份)(视乎超额配股权行使与否而定),其中香港发售股份110万股,国际发售股份990万股,另有15%超额配股权;11月29日至12月2日招股,预期定价日为12月2日;公开发售价将不会超过每股香港发售股份388港元,预计A类普通股将于12月8日正式开始在港交所买卖。
消息称阿里CEO张勇要放权,部门总裁或成“迷你CEO”
知情人士称,阿里巴巴集团CEO张勇正在把权力下放给公司各业务部门的负责人,以便更为灵活地应对日益增多的挑战。张勇正在把更多责任移交给各个业务部门的总裁,从基于位置的服务到云计算,这些总裁现在扮演“迷你CEO”的角色。此举旨在加快决策,以便每个部门能够更好地抵御竞争,重振低迷的销售,重塑公司整体形象。(凤凰网科技)
小米汽车落户北京经开区,2024年首车将下线并实现量产
11月27日,北京经济技术开发区管委会与小米正式签订合作协议,正式宣布小米汽车落户北京经开区。小米汽车将在北京经开区分两期建设累计年产量30万辆的整车工厂,其中一期和二期产能分别为15万辆,2024年首车将在北京经开区下线并实现量产。(中证报)
贾跃亭收到美国退市警告
最近,贾跃亭收到来自美国证券交易委员会的一份警示函。警示函称,由于FF没有在规定期限内提交第三季度财报,被列为不符合规定的上市公司。如果过期仍未提交,就会收到美国证券交易委员会的退市警示函。美国证券交易委员会在警示函中表示,在收到退市警示之后,允许FF在60天之内向证券建议委员会提交一份合规计划。如果计划在纳斯达克获得通过,那么在所规定的报表到期日之后最多180天之内,上市公司就可以重新获得合规。
对此,FF官方表示已经准备提交合规计划。FF在文件中表示,公司正在调查来自做空机构不准确披露的指控,所以推迟提交第三季度财报。在调查结束之前,将无法提交财报。但是调查何时能结束,法拉第未来表示目前无法确定。 (财经网科技)
国考笔试实际参考142.2万人:今年国考约46人录取1人
中央机关及其直属机构2022年度公务员招考公共科目笔试昨天在全国31个省(自治区、直辖市)的77个城市、59424个考场同时举行,共174.2万考生考前进行了确认缴费、142.2万人实际参加考试,参考率约为81.6%,参加考试人数与录用计划数之比约为46∶1,有16.1万名监考、巡考和考务工作人员为考生提供考试服务。(人民日报)
世卫组织:尚不清楚奥密克戎毒株传染性及致病程度
世界卫生组织在近日发布的“已知信息汇总摘要”中指出,新冠变异病毒奥密克戎毒株有几处突变可能对其传播能力和致病程度产生影响,但目前尚不清楚奥密克戎毒株是否比其他变异株更具传染性,以及是否会导致更严重的疾病。(央视新闻)
张文宏谈新冠变异毒株奥密克戎:目前对中国不会产生大的影响
复旦大学附属华山医院感染科主任张文宏医生发文谈新冠变异毒株奥密克戎,认为对中国目前还不会产生大的影响,中国目前的快速响应与动态清零策略是可以应对各种类型的新冠变种的。新冠病毒再变,还是新冠病毒。中国目前处于动态清零策略所赢得的战略机遇期内,正在加速构建下阶段应对常态化抗疫所需要的科学支撑,包括形成足以支撑世界开放的有效疫苗与药物储备,以及公共卫生及医疗资源储备。基于科学与团结,我们可以应对德尔塔,也能应对奥密克戎。(财联社)
腾讯回应财付通被罚:已全部完成整改
36氪获悉,针对腾讯财付通外汇业务违规被罚,财付通回应称:针对2019-2020年例行检查中发现的问题,财付通已第一时间制定了改进计划,并逐项落实,目前已全部完成整改。后续将在国家外汇管理局深圳分局的指导下,进一步加强合规管理。
腾讯被工信部点名,央视:用户苦App违规操作久矣
腾讯被工信部点名,要求对于即将发布的App新产品,以及既有App产品的更新版本,上架前需经工信部组织技术检测,检测合格后正常上架。监管部门果断出手,无疑释放出清晰的信号:不论违规的是大公司还是小公司,不论是态度不端正还是整改不彻底,合规工作容不得借口,要坚决维护互联网用户合法权益,对违规行为持续保持高压震慑,违规必究,没有例外。任何发展都不能以牺牲用户权益为代价,否则只能带来虚假繁荣,再难长久。(央视新闻)
财政部提前下达2022年新能源汽车补贴资金,约385亿元
日前,财政部经济建设司发布《关于提前下达2022年节能减排补助资金预算的通知》。《通知》显示,北京、天津、河北、山西、辽宁、吉林等25个地区列入提前下达2022年节能减排补助资金预算范围。显示,本次将安排3,847,926万元(约385亿元)资金,其中包括:1)2019-2020新能源汽车推广应用补助资金预拨总计1831031万元;2)新能源汽车推广应用补助资金清算2016-2018年度总计998394万元;3)新能源汽车推广应用补助资金清算2019年度总计1018501万元。(IT之家)
我国5G终端用户达4.5亿户,占全球80%以上
截至目前,我国已建成5G基站超过115万个,占全球70%以上,是全球规模最大、技术最先进的5G独立组网网络。所有地级市城区、超过97%的县城城区和40%的乡镇镇区实现5G网络覆盖。5G终端用户达到4.5亿户,占全球80%以上。(人民日报)
特斯拉决定率先在得州工厂生产4680电池,放弃德国11.4亿欧元补贴
消息人士称,特斯拉公司将放弃为其在德国工厂生产电池提供的11.4亿欧元德国国家援助,因为该公司已决定先在美国得克萨斯州尝试大规模生产新型电池。特斯拉去年表示,在证实能在加州弗里蒙特的试验性装配线上生产4680电池组后,公司计划在柏林郊外的工厂进行大规模生产。如果特斯拉选择这样做,作为欧盟“欧洲共同利益重要项目”倡议的一部分,特斯拉将有资格从德国获得公共资金。(界面)
马斯克敦促特斯拉员工降低交付成本,别在年底扎堆发货
当地时间28日,特斯拉CEO马斯克在一封全公司范围的电子邮件中敦促员工,要想办法降低向客户运送电动汽车的成本,而不是为了实现季度末的销售目标,在最后一刻赶订单发货。今年,特斯拉始终努力在最初承诺的日期范围向美国客户交付新车,但仍有许多美国特斯拉客户遭遇了长达几个月的交付延误。(新浪财经)
央行回应收款码管理:消费者日常支付体验和感受不会受到影响
近日有消息称,“微信、支付宝收款码不能用于经营收款”。收款二维码到底还能不能用了?新华社记者27日独家从中国人民银行有关部门获悉,该说法系误读。使用“码牌”或者打印封装的二维码的商户,需要向收款服务机构(如微信、支付宝等)申请转为商用收款码,但消费者日常支付体验和感受不会受到影响。(新华社)
茶颜悦色状告茶颜观色二审宣判
11月26日,湖南长沙。据长沙晚报,“茶颜悦色”状告“茶颜观色”不正当竞争案二审判决:“茶颜观色”败诉。早在去年4月,“茶颜观色”就曾率先状告“茶颜悦色”。(澎湃新闻)
红布林、动漫之家等17款App涉嫌超范围采集个人信息
11月27日电,国家计算机病毒应急处理中心近期通过互联网监测发现17款移动应用存在隐私不合规行为,违反《网络安全法》《个人信息保护法》相关规定,涉嫌超范围采集个人隐私信息。其中,包括《红布林》(版本3.6.8,OPPO软件商店),《动漫之家》(版本3.7.1,vivo应用商店)等App。
“甄云科技”完成6.5亿元人民币C轮融资
36氪获悉,数字化采购服务商“甄云科技”宣布完成6.5亿元人民币C轮融资。该轮融资由美团龙珠领投,ABI资本、独秀资本、建发新兴投资以及老股东蓝湖资本、红点中国、钟鼎资本、德同资本、众麟资本等跟投,毅仁资本担任独家财务顾问。甄云科技董事长王佩表示,完成本轮融资后,将在全球化布局、多样化产品形态、智能化场景扩展和推广、交付成本降低和咨询价值升华等四个方面加大投入。
泛二次元元宇宙及创意展销空间“COMICOMI”完成数百万元种子轮融资
36氪获悉,“COMICOMI”已完成数百万元种子轮融资,投资方为奇绩创坛,本轮融资将主要用于项目场景开发及市场推广。据公司介绍,COMICOMI是国内首个泛二次元元宇宙及创意展销空间。
“永安在线”获5500万元A+轮融资
36氪获悉,“永安在线”宣布完成5500万元A+轮融资,本轮融资的投资方包括深圳高新投、三峡鑫泰、光远投资,老股东真格基金继续加码跟投。通过本轮融资,永安在线将加大企业人才梯队建设和安全产品研发的投入,深耕业务安全相关产品及应用。据官方介绍,永安在线围绕账号安全与营销反欺诈领域两大场景,旗下有“反欺诈情报监测平台”和“反欺诈画像产品” 两大产品。
数字人平台型服务商“万像文化”完成数千万美元A+轮融资
36氪获悉,近日数字人平台型服务商“万像文化”宣布完成数千万美元A+轮融资,本轮融资由全球著名美元基金领投,老股东SIG海纳亚洲持续跟投。该笔资金将主要用于加速完成数字人各领域的生态布局。
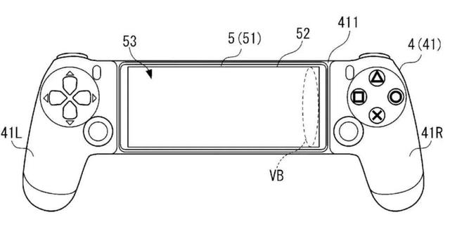
“索尼“手机游戏手柄”专利曝光:形似 PS4 手柄,不支持陀螺仪
根据 IT 之家消息,索尼互动娱乐似乎是专为手机游戏设计了 PlayStation 手柄,近日已申请了专利。该专利于本周由 SIE 的日本分部发布,描述了一种在设备上玩游戏的系统,该系统与两个控制器手柄相结合。该手柄类似于 PS4 的 DualShock 4 手柄,而不是 PS5 较新的 DualSense,被描述为“用户的左手和右手握持的左侧握把部分和右侧握把部分”。
该手柄设计省略了“用户可以倾斜的轴部,并检测轴部的倾斜方向和倾斜量”,也就是没有陀螺仪。目前该手柄只是申请了专利,实际产品还未知。如果真的实现了,该手柄有望与智能手机结合使用,通过远程播放或通过云来游玩 PlayStation 游戏。( IT之家 )

内容来源网络,如有侵权,联系删除,本文地址:https://www.230890.com/zhan/123974.html
