
来源:金融虎APP 作者:雄飞
团油APP,一款宣称大幅降低车主“找油站”成本,帮助车主获得便捷、实惠、可靠的加油服务产品,此前曾由知名相声演员岳云鹏和演员贾乃亮代言,再加上其广告轰炸营销,从而获得了广泛的知名度。今年8月18日,团油APP背后运营方能链宣布完成E轮20亿元的战略级融资,其宣称对于团油促进油站转型升级、加快推动能源数字化转型等方面的未来发展将具有重要意义。不过,金融虎APP注意到,在受到资本青睐的背后,仅在能链高调宣布完成融资的两个月之内,其运营主体车主邦(北京)科技有限公司就因“违反电子商务法、反不正当竞争法和广告法”而接连遭到严重的行政处罚,累计被罚总金额达120万元。

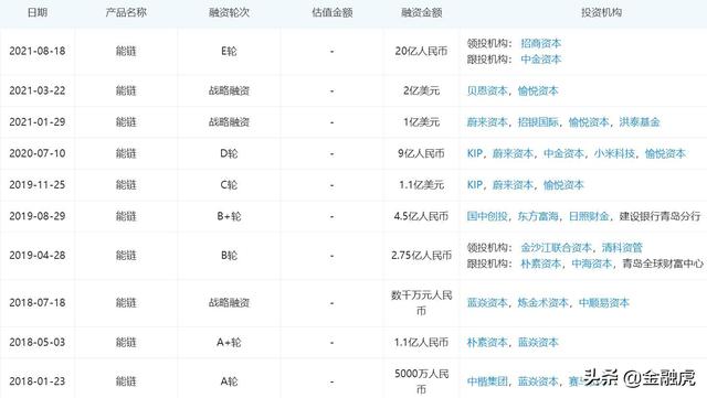
公开资料显示,能链成立于2016年,拥有团油、快电、能链云、能链物流、能链综合能源港、能链便利六大业务,涵盖油、电、氢、气等多个能源品类。其在E轮融资中,领投方为招商局资本,中金资本等老股东跟投。本轮融资由母公司能链融资、子公司能链物流独立融资和能源资产管理基金设立三部分构成。熊链集团是一个创新型能源数字化开放平台,致力于用数字化定义能源新基础设施,车主邦自身是油电一体化商用车能源的供应商,旗下品牌能链则是一个基于能源物联网的开放平台。能链集团一方面通过平台实现商用车和现有加油站、充电桩、加氢站数据闭环联通。一方面通过区块链技术打造微型电网直接参与能源供给,完成商用车能源集中采购B2B闭环交易。
据官方介绍,作为能链旗下互联网加油业务,团油依托能链从上游炼厂到下游加油站、车主的能源产业链,近年来发展迅速,构建起覆盖全国的能源补给网络。团油广泛连接长尾油站,帮助油站打破营销半径限制,通过为油站引流,解决其站效低、品牌化程度弱等问题。车主可以在团油上查询油站位置、油价、油号、场站情况、优惠活动等信息,精准匹配双方需求,提高交易效率和便捷性。团油实现了能源在线交易,相当于在线上开了一家互联网加油站。一方面团油可以为众多车主提供便捷能源服务,车主无需下车,即可体验一键加油、一键开票等服务,方便快捷又省钱。当然得到实惠的不仅是车主,另一方面团油还可以为物流企业提供高效、优惠的加油服务,降低运营车辆的加油成本。
根据北京市朝阳区市场监督管理局于今年9月22日公布的两条行政处罚信息显示,车主邦(北京)科技有限公司是“团油APP”的备案和经营主体。因违反《中华人民共和国电子商务法》第三十九条第一款,遭到30万元罚款。同时,其因违反《中华人民共和国反不正当竞争法》第八条第一款,被给予责令改正违法行为,处以罚款五十万元的行政处罚。

根据处罚事由/违法行为,当事人以“团油APP”(原名车主邦APP)作为互联网加油平台,为加油站与消费者提供信息发布和撮合交易的服务。已查明,当事人自2019年1月1日至2021年6月30日持续存在以下违法事实:当事人于2019年1月31日创建的标签包括2种类型。其中,为加油员服务的评价标签内容有2个:一般般、给个赞;为加油服务的评价标签内容有6个:非常好、无可挑剔、方便快捷、油品好、老司机都爱不释手、服务一流,共8项标签内容,无差评项。
当事人于2020年12月22日进行了更新,更新后的标签仍然包括2种类型,其中,为加油员服务的评价标签内容添加了1个:服务态度好,无对应中评和差评,为加油服务的评价标签内容添加了7个:服务态度好、油品质量好、支付快捷、环境干净整洁、油价便宜、加油量足、排队迅速,无差评项。2021年6月8日,当事人又添加3项标签内容:车辆拥堵、缺少卫生间、服务态度一般,其中“服务态度”无对应差评项。
行政处罚指出,经过3次设置与更新,当事人设置的评价标签按照内容不同,共分18个(一般般、给个赞、非常好、无可挑剔、方便快捷、油品好、老司机都爱不释手、服务一流、服务态度好、油品质量好、支付快捷、环境干净整洁、油价便宜、加油量足、排队迅速、车辆拥堵、缺少卫生间、服务态度一般),当事人根据情况不同,选择展示。因此,2021年7月8日,消费者端下单付款完成进行评价时,可以选择对加油员评价的标签为“服务态度好、服务态度一般”2项,无对应差评标签;对加油站的评价标签为“支付快捷、油品质量好、环境干净整洁、加油量足、油价便宜、缺少卫生间、车辆拥堵”7项,其中“支付快捷、油品质量好、环境干净整洁、加油量足、油价便宜”5项无对应的中评和差评标签。当事人设置的评价规则不合理,未建立健全信用评价制度,未公示评价规则。
2021年7月23日,执法人员检查华为应用市场“团油APP”安装界面评价时,从上往下按顺序截图18页,发现47条均为差评;在今日头条中搜索“团油”,随机截图4页,均为负面新闻;在黑猫投诉搜索“团油”,显示投诉量989件,从上往下按顺序截图20页,44条均为差评。因当事人未在“团油APP”中设置可编辑文字进行评价的途径,消费者无法在“团油APP”中表达真实评价,只能选择其他途径反映问题。当事人自2019年1月31日至2021年6月30日,只设置了印象标签,未为消费者提供对平台内销售的商品或者提供的服务进行差评的途径。
然而,在不到20天的10月12日,团油再遭处罚。根据京朝市监罚字〔2021〕6357号处罚文书显示,其违反《中华人民共和国广告法》(2018)第二十八条第二款第(三)项,其被罚款40万元。处罚事由显示:“违反本法规定,发布虚假广告的,由市场监督管理部门责令停止发布广告,责令广告主在相应范围内消除影响,处广告费用三倍以上五倍以下的罚款,广告费用无法计算或者明显偏低的,处二十万元以上一百万元以下的罚款;两年内有三次以上违法行为或者有其他严重情节的,处广告费用五倍以上十倍以下的罚款,广告费用无法计算或者明显偏低的,处一百万元以上二百万元以下的罚款,可以吊销营业执照,并由广告审查机关撤销广告审查批准文件、一年内不受理其广告审查申请。”的规定,决定责令当事人停止发布违法广告内容,并在相应范围内消除影响。
在接连遭到行政处罚后,用户的返遗如何?金融虎APP注意到,据黑猫投诉信息显示,从10月份日至今,团油新增消费投诉近60余条,用户投诉内容大多集中在“莫名私自扣款、虚假宣传、拒绝退费、诱导消费者、与油站价差较大”等问题上。值得一提的是,从回复效率和结果来看,团油方面的处理效果还颇有成效,客服都以“核实处理”来进行回复,而在自动续费扣款等多条投诉的满意度评价中,不少用户也都打到了五星。但在虚假诱导和价差问题上的满意度情况,却仍显不尽人意。

另一方面,团油APP亦曾因侵害用户权益遭到工信部点名通报。去年10月27日,在关于侵害用户权益行为的APP通报(2020年第五批)显示,团油APP因“强制、频繁、过度索取权限”被要求在同年11月2日前完成整改落实工作。今年7月19日,团油APP又因“强制用户使用定向推送功能”而遭通报,被要求于7月26日前完成整改。
公开信息显示,车主邦(北京)科技有限公司注册资本1167万元,法人为戴震。在E轮融资之前,车主邦曾经历过10轮融资。据不完全统计,目前,该公司累计融资额已超过64亿元人民币。KIP、蔚来资本、中金资本、贝恩资本、蓝焱资本、小米科技等诸多知名投资机构均有入局。不过仅从工商信息来看,董事长、经理戴震持股比例达81.0981%,董事王阳和孙玮临分别持股9.4509%。

就在11月2日,国务院办公厅日前转发国家发改委《关于推动生活性服务业补短板上水平提高人民生活品质的若干意见》提出,依法保护各类市场主体产权和合法权益,严格规范公正文明执法。维护公平竞争市场秩序,严厉打击不正当竞争行为。促进平台经济规范健康发展,从严治理滥用垄断地位、价格歧视、贩卖个人信息等违法行为。开展民生领域案件查办“铁拳”行动,从严查处群众反映强烈的预付消费“跑路坑民”、虚假广告宣传、非法集资等案件。
在监管趋严的当下,维护消费者的合法权益,提升用户满意度,这无疑是平台类企业生存的最大命门。在业内人士看来,就算有资本加持,曾经不提供差评途径的“套路”和广告虚假宣传诱导消费者的“蒙蔽手法”已然使其背离了经营的“诚信”之道,一味的追求扩大用户规模和利益更换不来长久。如何整改,整改之后是否还会重蹈覆辙?金融虎APP将对此持续保持关注。
内容来源网络,如有侵权,联系删除,本文地址:https://www.230890.com/zhan/67775.html
