如今,难怪汽车里有三四块屏幕。似乎屏幕越多,“科技”就会越多。

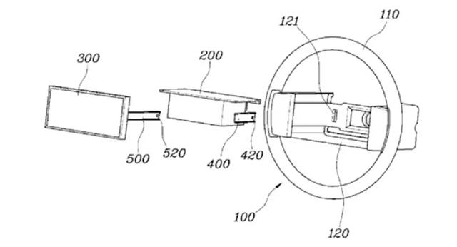
在这次屏幕比赛中,现代汽车提出了一个奇怪的想法,那就是在方向盘上增加一块显示屏。目前,现代汽车已经成功申请专利,这块显示屏并不是方向盘上的微型功能触摸屏,而是方向盘整个中央都要换成一块屏幕。

是的,现代想用这种设计来代替仪表盘,让汽车更加简洁直观。这时,聪明的朋友会问:“安全气囊怎么办,弹出来就把屏幕炸了?”。很简单,现代已经在其他位置放置了安全气囊,而不会相互影响。
其实这已经不是现代人第一次提出在方向盘上放置屏幕的想法了。早在2019年,现代就提出了一个名为“虚拟座舱研究”的项目,但这个项目的想法是在方向盘上3点和9点增加两个功能触摸屏。


虽然是两个触摸屏,但不同于方向盘的通用多功能触摸屏,屏幕会根据系统正在进行的操作显示相关的功能控制。



比如播放音乐时,方向盘屏幕会切换到暂停/播放、音量、切换歌曲等。选择导航时,方向盘屏幕将显示确认/取消。此外,还可以在方向盘屏一楼自定义菜单界面,放置自己常用的功能。方向盘屏幕还支持多级菜单操作。

和上面提到的2019款的理念相比,今天的现代理念显然更加激进,所以干脆把仪表盘换成方向盘中间的屏幕。你觉得这是噱头,还是有发展的可能?
内容来源网络,如有侵权,联系删除,本文地址:https://www.230890.com/zhan/43947.html
