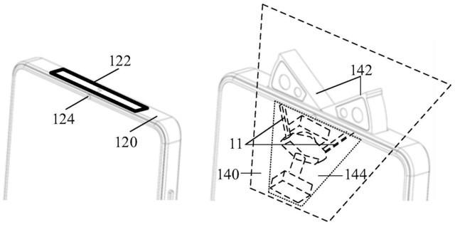
中关村在线消息:今日小米申请的旋出式摄像模组及终端在中国专利公布报告中出现,新专利将摄像头隐藏才手机中框内,不占用屏幕空间,从而提升屏占比,并且摄像头模组的弹出方式也经过改良,以狐线作为运动轨迹,可以更加快速的弹出摄像头。

小米旗舰手机小米12系列将于下个月发布 ,据爆料新机将采用屏下摄像头方案,并且首发搭载骁龙898处理器,同时采用续航新科技,本次公布的专利能否用在小米12身上目前未知,中关村在线将会为您持续报道。
(7814578)
内容来源网络,如有侵权,联系删除,本文地址:https://www.230890.com/zhan/114638.html
